【導讀】霍爾效應開關和儀器級傳感器在工業應用中正變得越來越普及,如今產品和制造工藝設計師可以選用高度集成的各種霍爾效應器件。雖然在需要哪些規范以及磁場測量方面總的來說仍有許多困惑,但這些器件已被證明應用起來相當簡便。
霍爾效應傳感器歷史
自從1879年Edwin H.Hall博士用一片金箔做實驗時出現這種行為后,霍爾效應的知識就被廣泛流傳開來。雖然現代傳感器的開發花去了全球科學家和工程師大量的時間和精力,但霍金的開發起到了拋磚引玉的作用。選取合適的材料是導致延遲的部分原因。在20世紀50年代中期之前,鉍是用于傳感器開發的最好實用材料。雖然仍然不理想,但鉍可以提供足夠的霍爾電壓和穩定性,完全可以在諸如電磁場控制器等設備中用作傳感器。
在20世紀40年代期間材料科學終于迎來了突破性進展,當時III-V族半導體是蘇聯的主要研究課題。德國西門子公司的科學家則首先認識到,新發現的這些化合物特性可以做出優異的霍爾效應器件(霍爾發電機)。
這類半導體具有霍爾效應應用所需的高載流子遷移率和高電阻率,并且在可變溫度條件下具有卓越的穩定性。到20世紀50年代晚期,美國俄亥俄州的研究人員發掘出砷化銦和銻化銦的獨特性能,并因此誕生了多家生產基于霍爾效應的產品的公司。作為儀器級傳感器,砷化銦器件在穩定性、低噪聲和最小溫度系統等方面的性能至今還未被其它材料超越。
許多年來,集成電路制造商一直在致力于向市場提供硅霍爾效應器件。它們的大批量生產設施和向傳感器增加其它電路的能力為低成本高度通用的器件帶來了希望。到20世紀70年代晚期,硅霍爾效應開關得到了長足發展。施密特觸發器和輸出晶體管的加入給業界帶來了極有影響力的器件,這種器件可以提供與磁場存在或消失有關的大輸出變化。但獲得精確和可重復的結果還存在一些問題。測量的結果通常會受到高溫度系數和可變開關校準的影響。直到20世紀80年代,現代校準和補償電路才使得當今的集成式傳感器達到了相當高的性能水平。
霍爾效應開關和儀器級傳感器在工業應用中正變得越來越普及,如今產品和制造工藝設計師可以選用高度集成的各種霍爾效應器件。雖然在需要哪些規范以及磁場測量方面總的來說仍有許多困惑,但這些器件已被證明應用起來相當簡便。
在使用數量上只有溫度傳感器略勝一籌,但霍爾效應傳感器亦已被用于國內和商業應用中種類廣泛的設備,包括DVD、CD、內存驅動器、自動玩具、手機、汽車羅盤以及汽車點火系統。你還可以在線性、工業旋轉設備、位置檢測器以及軍事/航空設備中見到它們的身影。
制造和測試工程師使用各種類型的分立霍爾效應傳感器與儀器提供產品信息并監視制造工藝步驟。雖然在測量功能上與其它類型的傳感與儀器可能有些重疊,但對于某些類型的測量來說霍爾效應傳感器明顯是最佳選擇,甚至有些情況下沒有其它類型的測試設備能夠提供所需的數據,其中就包括對直流電流值、旋轉位置、間隙、表面或泄漏磁場值的測量。霍爾效應傳感器歷史部分提供了有關這些傳感器的一些背景知識。
霍爾效應傳感器的工作原理
當以一定角度穿過一片材料的磁場影響到在此材料中流動的電流時就會產生霍爾電壓。霍爾片通常是一片矩形的半導體材料,作為有源元件或“有源區域”產生霍爾電壓(圖1)。霍爾片有給定的長度l、寬度w和厚度t。

圖1:可以用直流磁場產生和測量霍爾電壓。
測量霍爾電壓
對于與霍爾片正交的磁通量矢量來說,最大霍爾電壓VH就是霍爾片磁場靈敏度γB 與磁場通量密度B的乘積,即:
VH = γBB
這是在霍爾片上可以測得的最大霍爾電壓。當霍爾片表面與磁通量矢量不是正交而是呈一個角度θ時,霍爾電壓VH等于:
VH = γBB × sinθ
電流I流經長度為l的霍爾片。電流是在觸點Ic(+)和Ic(-)之間流動的。磁場處于z方向,也就是說正交于霍爾片平面。由磁場施加的力被稱為洛倫茲力,它迫使電荷載體(空穴或電子)沿著圖示線條曲線向霍爾片邊緣移動。這個力是載流子速度和磁場強度的一個系數。最終在寬度為w的材料的觸點VH(+)和VH(-)之間測到的霍爾電壓正比于磁場的通量密度。
儀器配置
霍爾效應傳感器的支持設備包括用于提供電流Ic的電流源和用于測試觸點VH(+)和VH(-)之間霍爾電壓的電壓表。有些方案還采用負載電阻RL用于電壓測量,如圖2所示。許多類型的霍爾效應儀器提供這種支持電路的某個部分作為測量系統的有機組成部分。來自觸點VH(+)和VH(-)的電壓引線可以直接連接到高阻電壓表進行讀數,或連接到其它電路進行放大、調整和處理。(使用交流源和鎖相放大器的更復雜系統也可以用,但不在本文討論范圍內)

圖2:儀器中使用的霍爾發生器的典型配置。
應用
在工業環境中,霍爾效應器件一般服務于以下兩種主要應用之一:
● 測量磁場強度
● 檢測移動物體的接近、位置和旋轉參數
下文將討論每種應用,并提供了高效使用霍爾效應器件的一些技巧。
用于磁場測量的儀器級傳感器
當一種工業應用要求精確或經認證的磁場測量時,經常會采用儀器級霍爾效應器件。比較常見的一些儀器級應用包括電磁場控制、半導體離子注入束控制、磁體或磁性零件的受入檢查、在線磁化確認、磁場制圖、電流檢測以及連續磁場暴露監視等。作為這許多測量的替代方法,可以使用商用的高斯計。然而在實際應用中,物理或成本約束經常要求使用分立的霍爾傳感器和商用的電子設備。
儀器級霍爾器件用戶通常希望得到一個空間或空隙中或來自表面的磁場精確值。根據測量的空間特征,需要使用合適的安裝方法來安置和保持檢測元件。
典型的霍爾效應傳感器通常有橫向或軸向兩種配置(圖3)。橫向傳感器一般是很薄的矩形,設計用于磁路間隙測量、表面測量和開放磁場測量。軸向傳感器一般是圓柱體,用于環形磁鐵中心孔測量、螺線管磁場測量、表面磁場檢測和普通磁場檢測。

圖3:橫向和軸向霍爾傳感器的基本幾何形狀。
實用化考慮
高質量的傳感器可以提供高精度、卓越的線性度和低溫度系數。通常可以買到用于特定測量和儀器的合適探頭,而且制造商會提供經認證的校準數據。
儀器級霍爾效應傳感器的一些較為重要的實用化考慮因素有:
精度。設計師必須確定特定測量所需的精度。在沒有信號調節的條件下可以達到1.0%至2.0%的讀取精度。在許多應用中使用微處理器校正后可以達到0.4%的精度。
角度。如前所述,霍爾傳感器輸出是霍爾板與磁場矢量之間夾角θ的正弦函數。當磁場矢量垂直于器件平面(sin90°=1.0)時輸出達最大值,當磁場矢量與傳感器平面平等時輸出為最小值(接近0)。制造商會在最大輸出時校準霍爾傳感器,因此需要考慮測試夾具或探頭的角度誤差。
溫度。許多種傳感器方案都可以支持寬的溫度和磁場范圍。儀器級傳感器支持從1.5K (-271°C)至448K (+175°C)的溫度范圍和從0.1高斯至30萬高斯的磁場范圍。霍爾傳感器有兩種溫度系數:一種是用于磁場靈敏度(校準)的溫度系數,另一種與偏差(零)變化有關。溫度對校準的影響是讀數誤差的一個百分數,零效應則是取決于溫度的一個固定磁場值誤差。偏差變化在低磁場讀數(小于100高斯)時更為重要。技術人員應該仔細研究制造商給出的兩種溫度系數指標,然后判斷某個特定應用是否能在目標溫度范圍內保持想要的精度。
輸入電流限制。建議設計師了解所要求的輸入電流值,并注意不要超過規定的最大值。記住,正常情況下霍爾效應器件是在某個電流值進行校準的。任何偏離校準電流的變化都會改變傳感器的輸出。然而,這也是一個可以利用的特性。只要不超過最大電流值,電流翻倍輸出也會跟著翻倍。
如前所述,基本的儀器級霍爾傳感器是一片具有4個電氣觸點的低阻材料。輸入和輸出電路彼此間是不隔離的,因此你必須避免使用輸入和輸出電路中的公共連接。為了滿足這個要求,你可以使用隔離式電流源或輸出的差分輸入放大。
傳感器安裝替代方案
在一些測量應用中,使用標準探頭是不切實際的或不合意的。相反,霍爾效應傳感器被直接安裝在機械組件上。定制化的傳感器安裝方式設計超出了本文的討論范圍。以下是在定制方式下有用的一些通用指南:
易碎性。霍爾傳感器特別脆弱,很容易因彎曲應力而受損。因此要避免霍爾片接觸施加直接壓力的表面或器件。在一些應用中,使用非導電的陶瓷或其它絕緣材料作為接口片。
綁定。必須仔細選擇綁定粘合劑,以便不給傳感器增加應力。當溫度變化不超出室溫±10℃時,普通環氧(如5分鐘風干類型)就很好了。一般不建議罐封,除非是在腐蝕性很高的環境條件下。還可以用其它一些綁定方法來減輕傳感器引線的應力,比如將它們綁定在安裝基板上。
加工的腔體。這些腔體可以用于軸向或橫向霍爾傳感器,傳感器頂部凹陷在表面下,有助于防止壓力接觸或磨損。
試管安裝。試管安裝方式(圖4)可以用于保護軸向霍爾傳感器。
推薦方法是為任何定制安裝應用選擇最具魯棒性的傳感器。采用陶瓷或笨酚封裝的單元一般來說最耐用。

圖4:軸向傳感器可以安裝在試管內,其中的傳感器可以暴露或凹陷在腔體內得到保護。橫向傳感器一般安裝在凹陷處。
集成的接近與旋轉傳感器
霍爾效應傳感器已被廣泛用于各種線性接近檢測設備,對接近設備的磁場變化進行響應。例如,檢測到的磁極可能接近與霍爾片垂直的傳感器,或者磁體經過傳感器的平面。這種運動將導致產生的電壓發生變化。附加的集成電路將霍爾電壓轉換成顯著更大的數字兼容信號。
角度檢測、旋轉和速度檢測使用相同的霍爾效應原理測試位置的重復性物理性變化。對于旋轉、速度或角度傳感器來說,磁極連接在旋轉物體上,比如電機軸,霍爾片是靜止的。眾所周知的角坐標應用包括檢測無刷直流電機的換向和發動機曲柄軸的旋轉角度。
用于接近、旋轉和電流檢測的各種類型設備都是某種形式的霍爾效應“開關”,由霍爾效應輸出觸發,然后饋送進其它集成電子電路。這種開關根據檢測到的磁場值或最近的磁場值和極性提供二元的高低輸出。當與載流線圈結合在一起時,霍爾效應開關還可以為過流電路斷路器提供電流值檢測。
開關工作模式
共有三種主要的工作類型:
雙極霍爾開關:要求南極和北極同時高于規定的幅值才能改變狀態,也被稱為閉鎖型開關。
單極正向霍爾開關:要求一個極。根據正向通量密度大于某個幅值或小于最小值(通常沒有磁場)改變狀態(低或高)。
單極負向霍爾開關:要求一個極。根據負向能量密度幅值大于某個值或小于最小值(即沒有磁場)改變狀態(高或低)。
霍爾片所處的磁場決定了輸出狀態。來自霍爾效應檢測器的信號被檢測、放大,然后用于控制輸出端的固態開關元件。到外部邏輯和控制元件(如CMOS或TTL電路)的連接是標準連接,帶有外部上拉電阻。由于大批量生產的原因,集成式霍爾效應器件(圖5)通常成本很低。

圖5:集成式霍爾效應器件的簡化原理圖。
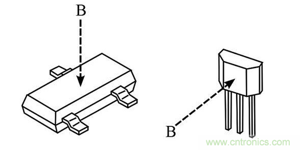
最常用的封裝類型是表貼或兼容印刷線路板的引線類型(圖6)。與傳感器封裝有關的正負磁場方向在制造商提供的規格書中有定義。

圖6:霍爾效應傳感器的封裝類型。
為了使得這些器件在應用中更加有用,請記住:
● 當需要精確的磁場讀數時要選擇儀器級器件。接近檢測(角度或線性)最好選用集成式“開關”。
● 了解重要的參數,如磁場幅值,交流或直流磁場,交流頻率,溫度范圍,以及外部噪聲(磁性或電氣噪聲)
● 盡可能選擇更具魯棒性的封裝
● 如果準備使用永久磁鐵,請向磁鐵制造商尋求幫助。
推薦閱讀: