【導讀】汽車雷達作為核心傳感器技術,涵蓋多種類型,其中毫米波(mmWave)雷達憑借全天候目標探測能力脫穎而出。無論面對暴雨、濃霧還是沙塵等惡劣環境,其穩定性能均遠超其他傳感器方案。在智能汽車領域,毫米波雷達已成為ADAS(高級駕駛輔助系統)與自動駕駛技術的基石,通過精準感知周圍環境,為車輛提供實時距離、速度與角度數據,從而構建安全、高效的駕駛決策基礎,推動自動駕駛從概念向現實加速演進。
汽車雷達作為核心傳感器技術,涵蓋多種類型,其中毫米波(mmWave)雷達憑借全天候目標探測能力脫穎而出。無論面對暴雨、濃霧還是沙塵等惡劣環境,其穩定性能均遠超其他傳感器方案。在智能汽車領域,毫米波雷達已成為ADAS(高級駕駛輔助系統)與自動駕駛技術的基石,通過精準感知周圍環境,為車輛提供實時距離、速度與角度數據,從而構建安全、高效的駕駛決策基礎,推動自動駕駛從概念向現實加速演進。
毫米波雷達在汽車中的應用
毫米波是30-300GHz頻率范圍內的短波電磁波。毫米波雷達的波長從1mm到1cm不等。在汽車工業中,毫米波雷達常被用于無干擾地精確感測位置、速度和角度。根據使用的頻率劃分,汽車毫米波雷達主要有24GHz毫米波段、60GHz毫米波段和77GHz毫米波段三種類型。就毫米波雷達傳感器而言,工作頻率越高,波長越短,則帶寬越寬,分辨率越高。
? 24GHz毫米波雷達被稱為短波雷達,波長為1.25cm,可感應15cm至30m范圍內的距離,可用于停車輔助系統。由于工作頻率相對較低,帶寬較窄(僅250MHz),因此24GHz毫米波雷達的測量精度有限,這也限制了它的應用范圍。不過,24GHz毫米波雷達因技術較為成熟,器件的價格很便宜,對價格敏感的應用而言是個不錯的選擇。
? 60GHz毫米雷達的波長為5mm,它的出現主要是為了應對24GHz雷達帶寬和精度的不足。在非汽車領域,對毫米波雷達的應用已逐漸從24GHz轉移到60GHz。60GHz毫米波雷達可用于人體姿勢檢測、生命體征監測和分區軌跡追蹤等高級功能場景。而對人體姿勢檢測和生命體征監測正在成車內乘員健康監測的重要選項。因此,60GHz毫米波雷達在汽車領域的應用也在逐漸展開。
? 77GHz毫米波雷達的波長僅為3.9mm,頻率相對較高。一般來說,雷達的波長越短,分辨率/精度就越高,整個系統的外形也將更小。汽車盲點檢測需要在1m至100m的中程范圍內進行檢測,77GHz毫米波雷達完全覆蓋這一應用需求。對于自適應巡航控制和前方碰撞預警系統而言,可能需要探測到長達250m的距離,這種遠程探測需求可選擇77GHz或79GHz毫米波雷達。
毫米波雷達作為一種非接觸式傳感器,與相機、紅外或激光雷達(LiDAR)相比,具有抗干擾性能強、全天候(大雨天除外)工作、雨霧、煙霧和灰塵穿透能力強等優點。這些特性使其成為旨在提高車輛安全性和駕駛自動化的現代車輛的理想解決方案。
毫米波雷達賦能自動駕駛
毫米波雷達通常集成在車輛的角落,靠近保險杠,以覆蓋盲點并協助碰撞檢測、停車和其他安全功能。毫米波角雷達技術能夠掃描比傳統雷達傳感器更寬的區域,可提供車輛周圍的360度視野。汽車毫米波角雷達使用毫米波頻率來檢測車輛周圍的物體和障礙物,特別是在能見度有限的角落。這種雷達技術在增強車道保持輔助、防撞、自適應巡航控制和盲點檢測等系統的功能方面發揮著至關重要的作用。
安全一直是汽車行業的首要關注點,毫米波角雷達等雷達技術為實現這一目標做出了重大貢獻。毫米波角雷達提供的極重要的安全功能之一是盲點檢測。它可以提醒駕駛員在難以看到的區域,特別是在高速公路上,存在其他車輛或障礙物,有效降低了變道或并線時發生事故的風險。當毫米波角雷達與其他ADAS技術協同工作時,通過不斷監測車輛周圍的環境,可實時提醒駕駛員潛在的碰撞風險,甚至應用自動制動來防止事故,大大降低側面碰撞的風險。
在狹小的空間停車是駕駛員非常不喜歡做的事情之一,但有了角雷達,系統可為駕駛員提供精確的引導,使停車更容易、更安全。自動駕駛系統在檢測物體和做出瞬間決策以安全導航方面需要高精度,角雷達通過向車輛控制系統提供準確的數據,幫助其做出有關轉向、制動和加速的明智決定。
雖然毫米波雷達擅長在遠程和具有挑戰性的天氣條件下探測物體,但攝像頭、激光雷達和超聲波傳感器等其他傳感器通過提供額外的細節能有效補充其功能。因此,毫米波雷達通常會被集成到多傳感器融合系統中。
在融合系統中,攝像頭提供高分辨率圖像,詳細識別物體,如交通標志、車道標記和行人外觀。激光雷達生成環境的3D地圖,創建附近物體和障礙物的高精度模型。超聲波傳感器檢測非常近的物體,如停車時的路緣或其他車輛。通過結合來自多個傳感器的數據,車輛的ADAS可以更全面地了解周圍環境。
這種傳感器融合方法為現實駕駛場景提供了更穩健的智能駕駛解決方案。以汽車自動制動系統為例,毫米波雷達可與攝像頭一起搭配使用。攝像頭用于識別前方彎道半徑和障礙物,還能控制毫米波雷達的探測方向。毫米波雷達則用于精準地檢測障礙物的距離和接近速度,用于汽車應用的毫米波雷達可正確區分多個障礙物。
ADAS和防撞系統中的毫米波雷達方案
毫米波雷達在防撞方面非常顯著的優勢是其高分辨率的探測能力,即使在幾百米的距離它也能探測到物體,為車輛提供充足的時間來躲避潛在的障礙和危險。在檢測移動物體方面,毫米波雷達也特別有效,它能準確探測到道路上行駛的車輛、行人、自行車以及動物等,即使在高速公路和城市復雜街道等環境中亦能如此。
此外,毫米波雷達的高精度使其還能夠區分靜止和運動的物體,并估計它們的運行速度和方向。這些信息對于自適應巡航控制(ACC)、自動緊急制動(AEB)和其他旨在防止追尾碰撞和避免潛在事故的安全功能至關重要。
在ADAS和防撞系統中,集成在車輛的前、后和側面板中的毫米波雷達,通過感應物體并測量其距離、速度和軌跡,使車輛能夠及時采取糾正措施,如制動或轉向調整,避免發生碰撞。
圖:可用于ADAS和泊車應用的毫米波解決方案(圖源:Texas Instruments)
TI AWRL1432
Texas Instruments擁有全線的、適用于汽車自動駕駛的毫米波雷達產品(如圖3)。其中,AWRL1432毫米波雷達傳感器專為汽車應用中的自監控雷達系統而設計,包括踢開門、停車輔助、盲點檢測和車門障礙物檢測等。
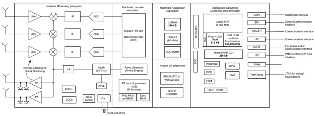
圖:可用于停車輔助、盲點檢測等方案的低功耗毫米波雷達傳感器AWRL1432系統框圖(圖源:Texas Instruments)
該傳感器工作在76GHz至81GHz頻帶,連續帶寬為5GHz,內置一個Arm M4F內核(160MHz)和一個單精度浮點單元(FPU),用于高效的信號控制。其還具有Texas Instruments雷達硬件加速器(HWA 1.2),用于處理快速傅里葉變換(FFT)、對數幅度和恒定虛警率(CFAR)操作等任務。
AWRL1432傳感器分為四個電源域:射頻/模擬子系統、前端控制器子系統(FECSS)、應用子系統(APPSS)和硬件加速器(HWA)。AWRL1432對每個電源域都有單獨的控制,允許根據使用情況打開或關閉每個狀態。即使在低功耗狀態下,傳感器也會保留一些信息,如應用程序圖像或RF配置文件,使設備能夠快速恢復運行。
從圖3中可以看出,AWR1843是作為毫米波角雷達傳感器使用的,它采用Texas Instruments低功耗45nm RF CMOS工藝,在極小的外形尺寸下實現了高集成度。單芯片實現了3TX、4RX系統,同時內置PLL和ADC以及用于雷達信號處理的高性能C674x DSP。
此外,AWR1843芯片內還包括一個用于汽車接口的用戶可編程ARM R4F基座。簡單的編程模型更改即可完成各種傳感器的實現(近距離、中距離和遠距離),并有可能動態重新配置以實現多模傳感器。AWR1843在76GHz至81GHz頻段運行,是汽車領域低功耗、自我監控、超精確雷達系統的理想解決方案。
圖:可用于毫米波角雷達傳感器的AWR1843系統框圖(圖源:Texas Instruments)
毫米波雷達的四大發展趨勢
在技術進步和不斷變化的市場需求的推動下,毫米波雷達市場呈上升趨勢。Data Insights Market預計,到2033年,全球毫米波雷達汽車市場的價值將達到約90.95億美元,2025年至2033年的復合年增長率為4.3%。
制造商在將毫米波雷達集成到ADAS和自動駕駛汽車后,有效提高了安全性和運營效率。現在,汽車行業越來越多地開始將毫米波雷達用來實現自適應巡航控制、防撞和行人檢測等功能。
綜合分析,毫米波雷達將在以下四個方面取得較大發展:
? 77GHz毫米波雷達的應用:與24GHz雷達相比,77GHz雷達技術提供了更高的分辨率和范圍,使其成為高級安全應用的首選。77GHz雷達的采用率預計將在未來幾年大幅提高。
? 與高級駕駛輔助系統(ADAS)的集成:毫米波汽車雷達正越來越多地與自適應巡航控制、車道偏離警告和自動緊急制動等ADAS系統集成。這些系統使用雷達數據來提高車輛安全性,并在各種駕駛場景中為駕駛員提供幫助。
? 大量采用板上芯片(COB)技術:COB技術將雷達傳感器和天線集成在單個芯片上。這項技術有望大幅降低毫米波雷達傳感器的成本和尺寸,助推毫米波雷達在汽車行業的應用。
? 加速與AI和機器學習等新興技術的融合:AI技術將被用來提高毫米波雷達傳感器的性能。人工智能雷達傳感器可以學習和適應環境,使其更加準確和可靠。AI和機器學習(ML)技術以及將毫米波雷達與相機和激光雷達等其他傳感器的集成將成為推動毫米波雷達市場發展的主要動力。
本文小結
自動駕駛汽車的發展推動了對高性能毫米波汽車雷達傳感器的需求。這些傳感器是自動駕駛車輛的障礙物檢測、路徑規劃、車輛防撞系統和盲點檢測(BSD)等應用的關鍵組件。其中,盲點檢測預計將成為毫米波汽車雷達市場的主要細分市場。
激光雷達因價格昂貴通常只適用于高端車輛,毫米波雷達憑借較高的成本效益為我們提供了一種經濟實惠的防撞系統替代方案,且不會對性能產生較大影響,這使得汽車制造商更容易以較低成本將先進的技術集成到更廣泛的車輛中。
對ADAS需求的不斷增長,安全法規的日益嚴格,這一切都正在推動著毫米波雷達市場的增長。毫米波雷達的應用正在徹底改變車輛的安全性,特別是在防撞領域,使其成為現代車輛不可或缺的雷達技術。
與此同時,對毫米波雷達等先進安全技術的需求開辟了新的商業和投資機會,隨著汽車制造商不斷將這些先進功能集成到他們的車輛中,雷達系統和傳感器組件的供應商亦將從中受益。
免責聲明:本文為轉載文章,轉載此文目的在于傳遞更多信息,版權歸原作者所有。本文所用視頻、圖片、文字如涉及作品版權問題,請聯系小編進行處理。
推薦閱讀:
驅動電路設計(七)——自舉電源在5kW交錯調制圖騰柱PFC應用





