【導讀】隨著能源問題的重要性日益提高,傳統照明逐漸被節能環保的LED芯片所取代。目前,LED照明燈以其滲透力及前瞻性占據市場主導地位。傳統燈具中,尤以MR16鹵素燈被廣泛應用于聚光燈及洗墻燈等領域,由此也成為LED取代燈的關鍵之一。然而,MR16尺寸較小,需要與調光器和變壓器配合使用,這給LED驅動電源帶來難題。本文中主要分析了LED取代MR16驅動電源設計過程中遇到的技術難點,將兩種使用拓撲進行對比和分析提出了能夠兼容,且成本低,體積小的技術方案。
MR16中LED驅動電源的設計挑戰
電子變壓器與磁變壓器相比,具有體積小、效率高的優勢,因此得到了更廣泛的應用。典型的電子變壓器結構如圖1所示。出于成本考慮,電子變壓器采用的是自激振蕩式半橋變換器,當負載電流使T1飽和時實現TR1和TR2的開關切換。電子變壓器在額定負載下的工作頻率在30kHz~50kHz之間,負載越輕,工作頻率越高。

圖1:電子變壓器結構示意圖
要使電子變壓器可以正常工作,負載電流必須足夠大,使T1可以周期性飽和。而且無論是前切調光器,還是后切調光器都需要一定的負載電流來實現可控硅的可靠導通或者輸入電壓復位。與鹵素燈相比,LED替代燈的輸入功率小很多。一個35W LED替代燈的輸入功率通常在7W左右。輸入電流不足容易造成調光器和電子變壓器的間歇式工作,引起燈光的閃爍。

圖2:配合電子變壓器和前切調光器的MR16工作波形:(藍)高壓側輸入電壓波形;(綠)高壓側輸入電流波形;(黃)負載電流波形。
一個典型的可調光MR16系統如圖3所示。市電經過一個電子或磁變壓器轉換為低壓12V交流輸入,為鹵素燈或者LED驅動電源供電。位于市電和變壓器之間的調光器通過控制市電的導通相位從而改變交流輸入的有效值,起到調節光輸出強度的作用。通常電子變壓器主要搭配前/后切調光器,而磁變壓器主要和前切調光器配合使用。

圖3:調光MR16燈系統示意圖
磁變壓器是通過工頻耦合的方式,利用不同的匝數比,將高壓市電輸入轉換為低壓交流輸入給MR16燈供電。傳統的鹵素燈是純阻型負載,并且功率都在20W以上。當前切調光器導通時,可以有效避免輸入電流的過沖和振蕩。而較大的輸入功率有助于調光器中的可控硅維持可靠導通。鹵素燈與前切調光器和磁變壓器配合工作時的波形如圖4所示。由于整流橋和輸入電容的存在,LED驅動電源通常呈現容性負載特性。當調光器導通瞬間,由容性負載引起的電流過沖很容易造成調光器和驅動電源的損壞。而輸入電壓的突然變化還容易引起回路中電感和電容的振蕩,使可控硅不能夠可靠導通,造成LED燈閃爍。

圖4:配合磁變壓器和前切調光器的MR16工作波形:(綠)高壓側輸入電壓波形;(藍)高壓側輸入電流波形;(紫)輸出電流波形。
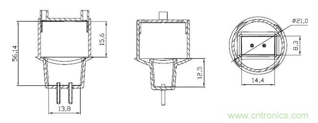
除了兼容性的問題之外,MR16燈的內部空間也對驅動的設計提出了考驗。圖5是一個常見的MR16燈頭的內部尺寸。與非調光驅動相比,調光驅動電源會增加一部分外圍線路來改善與調光器及變壓器的兼容性。而有限的空間以及客戶對于成本的要求使得驅動方案需要具有盡可能少的元器件數量和小的體積。

圖5:MR16替代燈燈頭尺寸示意圖
[page]
MR16驅動電源常見拓撲的分析與比較
對于調光MR16驅動電源的要求主要可以歸納為幾個方面:
(1)調光兼容性---與調光器和變壓器連接時工作穩定無閃爍;
(2)效率---主要評估在12V AC輸入下的驅動效率,目前的要求集中在75%~80%之間;
(3)輸出電壓范圍---主要影響LED顆粒的選擇和連接方式;
(4)輸出電流紋波---高頻紋波會影響LED的溫度和光通量,而低頻紋波會影響人眼的舒適度,但較小的輸出電流紋波需要較大的輸出電感和電容,需要和體積進行折中,通常要求峰-峰值≤30%;
(5)元件數量---處于對成本和體積的考量,希望元件數量越少越好;
基于以上要求,對MR16應用中常見的拓撲進行了比較,結果如表1所述。

表1:MR16應用拓撲的比較改進的兩級式拓撲結構
從前面的討論可知,連續的輸入電流可以改善驅動電源與調光器和變壓器的兼容性,而連續的輸出電流可以減小輸出濾波器的體積。在表1所示的拓撲中,只有Boost+Buck的兩級結構具有這樣的特性。但是兩個開關電源的組合使得元器件的數量較多,成本較高,而且整機的效率也有所降低。另外,出于系統成本和整燈光效的角度考慮,越來越多的燈具制造商傾向于在LED替代燈中使用低成本的中功率LED顆粒來替代大功率LED,即驅動電源的負載由低壓大電流向高壓小電流轉變。綜上所述,提出可以同時兼顧兼容性、體積和成本的兩級式方案,如圖6所示。

圖6:所提出的兩級式MR16驅動結構
這個驅動方案的輸入級采用Boost型升壓結構,輸入電流連續并受控,并配合受控的假負載,以改善與調光器和變壓器的兼容性。輸出級采用線性電流源的方式,輸出電流紋波被大大降低。與Boost+Buck的兩級結構相比,輸出級的電感和電容被省去,從而有效控制驅動的體積和成本。雖然受線性電流源的限制,LED電壓的范圍變窄,但考慮到LED的選擇向高壓小電流轉變的趨勢,該結構在性能和系統成本上依然具有較大優勢。