- 蘋果將采用太陽作為顯示背光的外部光源
- 有助于筆記本電腦的電池壽命和續航時間
- 成功實現了MacBook收集外部光線來照亮計算機屏幕
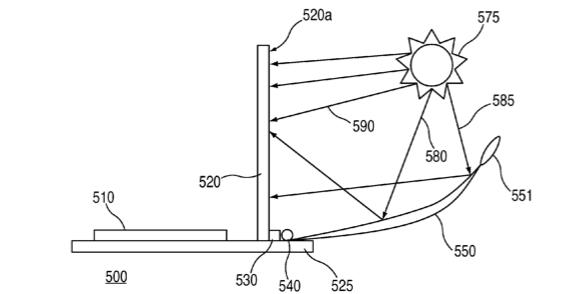
據蘋果本周申請的專利描述,蘋果將采用太陽作為顯示背光的外部光源,這有助于筆記本電腦的電池壽命和續航時間。
該專利被描述為“外部光照明的顯示屏”,文檔指出,液晶顯示器在戶外陽光直射的環境下很難看到內容,往往需要高功率組件才能顯示,該技術解決了這樣一個問題,成功實現了MacBook收集外部光線來照亮計算機屏幕。
蘋果采用了一塊反射面板來為屏幕供應光線,并且該系統還支持內部LED燈和其它外部光源的自動補光。








