【導讀】測量三極管管腳的方法有多種,其中實驗室常用的是利用萬用表和三極管各管腳的特點進行測量,但由于三極管各個引腳間的電壓、電流關系復雜,且三極管本身體積較小,給測量帶來很大不便,而目前市場上還沒有對三極管管腳、類型自動判別的裝置。因此,設計出一款能夠自動判別三極管管腳、類型的電路顯得尤為重要。
1硬件電路組成原理
根據目前常用三極管的類型及管腳排列方式,設計的自動判別電路包含中心控制單元、轉換電路、檢測放大電路和顯示電路四個部分,如圖1所示,其中用AT89C2051作為中心控制單元。

圖1判別儀的系統方框圖
2硬件電路設計
圖2所示為三極管管腳類型自動判別硬件電路原理圖,該硬件電路主要包括單片機AT89C2051、反相器CD4069、光電耦合器4N25、74LS06、74LS07、若干電阻和電容等元器件。

圖2判別電路原理圖
首先由單片機的P3.0~P3.2口送出三位二進制碼(高低不同的電平),分別送至三極管的1、2、3號引腳。對于不同的三極管,在單片機送出不同的編碼時,其1、2、3號引腳上的電流方向不同,有流入和流出兩種情況,用兩只光電耦合器反向并聯來檢測哪個方向上有電流通過,此時三位二進制碼變成六位二進制碼。將檢測到的來自光電耦合器的電信號進行放大,由于此時輸出的信號并非標準的高低電平,不能直接被單片機識別,相位也不符合要求,故加一級反相器CD4069進行反相,然后將反相器輸出的標準的六位二進制碼送至單片機的P1.0~P1.5口。單片機根據從P1口讀出的數據與單片機內部預先寫入的數據進行比較,當滿足相應的條件時從P3.3~P3.7口輸出檢測結果,最后用發光二極管來顯示對應的三極管類型。
3軟件設計
由于常用的中小功率三極管中NPN的三極管管腳排列順序有EBC、ECB、BCE三種(有極少數例外,可忽略不計),而PNP的只有EBC一種排列順序。所以,按照此規律進行軟件的編寫。總體編程思想是在各種不同管腳排列順序的三極管三個管腳上加上不同電壓,測試其電流情況并將其轉化為二進制碼。將這些二進制碼寫入單片機,外部輸入的數據與單片機內部的二進制碼進行比較,如果讀入數據與內部事先寫入的某個數據相等,則所測的三極管就為這個數據所對應的三極管的管型和管腳,然后用對應的發光二極管點亮指示出管型、管腳。
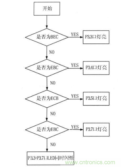
軟件主程序流程圖如圖3所示。

圖3程序流程圖
對應的程序為:





圖4所示為制作的PCB板圖,實物制作成功后,取一只三極管,將管腳按1、2、3順序插入產品的測試孔中,保證接觸良好,然后按下電源鍵,系統自動復位后運行,由LED指示出所測三極管對應的管型和管腳。LED燈的順序與管腳管型是一一對應的,若左邊第一只LED燈亮則所測三極管為NPN型,管腳排列順序為BEC;若左邊第二只LED燈亮則所測三極管為PNP型,管腳排列順序為EBC;若左邊第三只LED燈亮則所測三極管為NPN型,管腳排列順序為ECB;若左邊第四只LED燈亮則所測三極管為NPN型,管腳排列順序為EBC;若四只LED燈同時閃爍則可能是被測三極管已壞或有引腳接觸不良,單片機中未寫該管型對應的程序。

在制作實物的過程中,可以從左至右依次在LED燈的一側標明所對應的管腳和類型,也可以用不同顏色的LED燈來顯示不同的管腳和管型。
4結論
根據硬件電路和軟件設計進行電路的焊接和調試,設計所得的判別儀可以快速準確地判斷小功率三極管的管腳和類型,并由相應的指示電路顯示出判斷結果,比用萬用表測量要方便快捷很多。
本設計由于采用單片機作為中心控制單元,故可擴展性強。比如可在本作品的基礎上增加測量三極管β值的電路,可用數碼管顯示出β值。另外,本設計現在只能測量常見中小功率的三極管,若加上驅動電路、限流電路,修改部分源程序也可測量大功率三極管。
【推薦閱讀】
工程師教你如何設計一個“優質”D類音頻放大器!
變壓器對于電路的重要性毋庸置疑,選擇時應注意什么呢?
什么是負載開關,為什么需要負載開關?
同步降壓轉換器電路分析及輸出紋波的探討
電池供電設備電流監控的三個要點——你真的做對了嗎?